Hyundai has filed a new patent with the U.S. Patent and Trademark Office (USPTO) that could signal a bold new direction for pickup truck design. The patent, which includes technical drawings of a pickup truck equipped with detachable modular doors, outlines an innovative door architecture that emphasizes flexibility, customization, and lifestyle adaptability.
This development aligns with Hyundai’s broader push into lifestyle-oriented utility vehicles, particularly those aimed at off-road and adventure-focused buyers.
Key Highlights of the Hyundai Detachable Door Patent
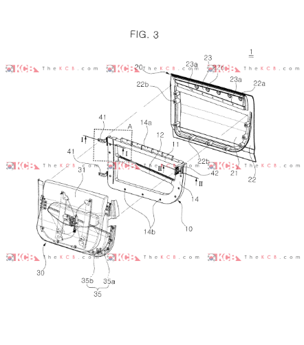
According to the patent filing, Hyundai’s proposed detachable modular vehicle door consists of three primary components:
- Frame Module: Hinge-connected to the vehicle body and designed to open and close like a conventional door.
- Skin Module: Assembled to the frame module and configured to cover the exterior surface of the door.
- Interior Module: Disposed inside the frame module, covering the interior side of the door and assembled to the skin module with the frame module positioned between them.
This three-layer modular construction allows individual components to be detached, replaced, or reconfigured without removing the entire door assembly.
What the Patent Drawings Reveal
The patent drawings depict a pickup truck with a rugged, boxy profile and removable doors, suggesting potential applications in off-road, recreational, or utility-focused vehicles. While the filing does not confirm a production model, the design language hints at a lifestyle-oriented pickup that could compete in emerging segments currently dominated by modular vehicles.
The detachable door system appears engineered for quick removal, potentially enabling doorless driving experiences while retaining structural integrity and safety through the frame module.

Potential Advantages of Hyundai’s Modular Door System
The patent strongly suggests Hyundai is exploring a vehicle positioned against established off-road icons such as the Ford Bronco and Jeep Wrangler, either in SUV or pickup form.
1. Enhanced Customization
The separation of the frame, skin, and interior modules could allow owners to swap exterior skins for different colors, materials, or aerodynamic profiles. Interior modules could be customized for comfort, storage, or utility-based use cases.
2. Lifestyle and Off-Road Applications
Detachable doors are highly appealing to outdoor enthusiasts. This patent suggests Hyundai may be exploring vehicles suited for camping, overlanding, beach driving, or adventure sports.
3. Reduced Repair and Maintenance Costs
In the event of damage, individual modules could be replaced instead of the entire door, potentially reducing repair complexity and cost.
4. Competitive Positioning Against Bronco and Wrangler
Detachable doors are a defining feature of hardcore off-road SUVs. By patenting a modular door system, Hyundai could be laying the groundwork for a direct rival to the Ford Bronco and Jeep Wrangler, offering similar open-air flexibility with a more advanced, modular construction.
This approach could allow Hyundai to differentiate itself through improved fit, finish, and modularity while still delivering the rugged appeal expected in this segment.
How This Patent Fits Hyundai’s Broader Strategy
Rather than focusing on commercial or purpose-built applications, this patent points toward Hyundai’s interest in the growing lifestyle off-road market. Vehicles like the Ford Bronco and Jeep Wrangler have proven strong demand for removable doors, roof panels, and extensive aftermarket customization.
A Hyundai SUV or pickup using this detachable modular door concept could target:
- Adventure-focused SUV buyers
- Lifestyle pickup customers seeking open-air driving
- Markets where off-road credibility and customization are key purchase factors
Will This Hyundai Pickup Reach Production?
As with most patent filings, there is no guarantee that this detachable door system will make it into a production vehicle. However, the level of detail in the patent description and drawings suggests serious exploration rather than a purely defensive filing.
With increasing demand for customizable, lifestyle-oriented trucks and the rise of electric pickups, Hyundai’s detachable modular door patent could represent an early look at a future Hyundai pickup platform.
Conclusion
Hyundai’s newly discovered U.S. patent for a detachable modular door system could be a strong indicator of an upcoming off-road-focused SUV or pickup designed to rival the Ford Bronco and Jeep Wrangler.
By separating the door into a hinge-mounted frame, interchangeable exterior skin, and removable interior module, Hyundai could deliver a more refined and modular take on the removable-door formula. Whether applied to an SUV or a pickup truck, the concept highlights Hyundai’s intent to compete in the lifestyle off-road segment rather than purely commercial or utility-focused markets.
If brought to production, this patented technology could position Hyundai as a serious new player in the rugged, open-air off-road space.




