New developments continue to emerge around the highly anticipated Genesis GV90, and the latest information adds another layer of sophistication to the luxury SUV’s design. Genesis has filed a new U.S. patent that reveals a cutting-edge vehicle door sealing structure, further enhancing the functionality and refinement of its pillarless coach door system.
Innovation in Door Design
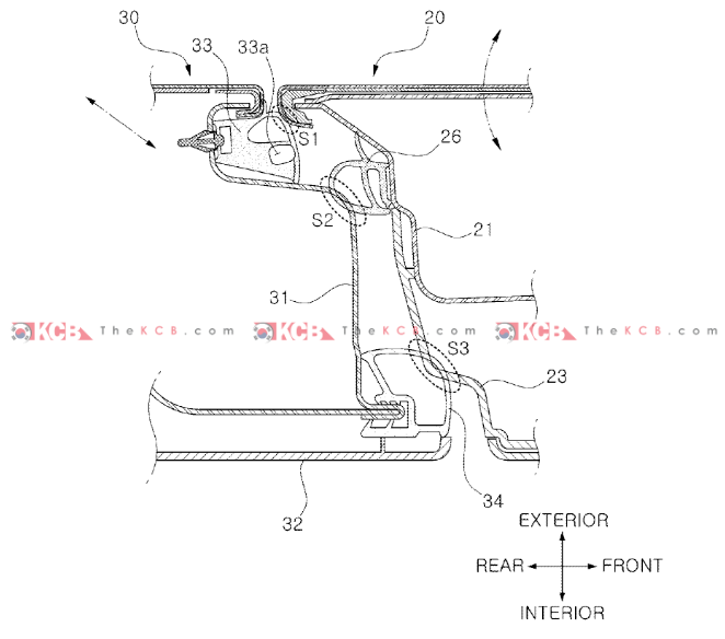
The newly published patent describes a vehicle door with a multi-layer sealing structure designed to maintain airtight integrity and superior noise insulation, even without a traditional B-pillar. According to the filing, the system includes:
- A first door hinge-connected to the vehicle body.
- A second door that connects to the first door at one end and is also hinge-mounted to the vehicle at the opposite side.
- A door outer parting seal placed adjacent to the outer surface of the first door.
- A door side weather strip installed on the first door and contacting the front edge of the second door, positioned further inside the vehicle than the outer seal.
- A door inner parting seal mounted on the second door, contacting the first door and located deeper inside the vehicle than the weather strip.
This layered sealing arrangement ensures that the Genesis GV90 pillarless, rear-hinged doors maintain exceptional aerodynamic performance, cabin quietness, and weather protection, meeting the high standards expected in the luxury segment.


Detail of the sealing feature and door frame
The Technology Behind the Transformation
This new patent joins previously uncovered filings—“CINCHING DEVICE FOR DOOR LATCHES IN VEHICLE” and “DOOR LATCH DEVICE FOR VEHICLES”—which outline the complex mechanical systems enabling the GV90’s innovative coach doors.
- Cinching Device: This mechanism uses a cinching actuator and lead screw system to ensure the doors close smoothly and securely, providing the solid, refined feel associated with ultra-luxury vehicles. A spring structure compensates for minor variations in the latch motion, ensuring consistent alignment and a flawless seal—critical for a pillarless configuration.
- Door Latch Device: This system integrates a pop-up guide unit and locking unit that position and secure the doors with precision. A door sagging prevention bracket supports the weight of the long, rear-hinged doors, maintaining durability and consistent performance over time.
Together with the new sealing structure patent, these innovations demonstrate the depth of Genesis’s engineering investment in making the GV90’s pillarless door system not just visually striking but also structurally sound and practical for daily use.
Why It Matters for the Luxury Market
The introduction of pillarless coach doors—a design once exclusive to brands like Rolls-Royce—marks Genesis’s entry into the upper echelon of automotive luxury. Such systems require extraordinary precision in body engineering, latch design, and sealing performance. By solving these challenges through a trio of interrelated patents, Genesis signals its determination to rival the very best in the segment.
The Genesis GV90 is shaping up to be a defining statement for the brand, merging advanced electrification, luxury craftsmanship, and engineering innovation. The combination of a pillarless coach door system and an advanced multi-seal structure underscores Genesis’s ambition to set a new benchmark for comfort, convenience, and design excellence in the luxury SUV market.
As production details continue to unfold, one thing is clear—the GV90 will not merely follow trends; it aims to redefine luxury SUV engineering from the ground up.




